• 文字サイズ変更
  • S
  • M
  • L
  • No : 29113
  • 公開日時 : 2019/07/10 18:14
  • 印刷

[共通]LTB/LTCシリーズの外部循環ノズルをネジ接続に変更可能でしょうか。

LTB/LTCシリーズの外部循環ノズルはタケノコ状ですが、
これをネジ接続に変更可能でしょうか。
 
低温恒温水槽  冷却水循環装置
1-5468-01 LTB-125 1-5469-01 LTC-450
1-5468-02 LTB-250 1-5469-02 LTC-1200
1-5468-03 LTB-400 1-5469-21 LTC-450N
1-5468-31 LTB-125A 1-5469-22 LTC-1200N
1-5468-32 LTB-250A 1-5469-31 LTC-450A
1-5468-33 LTB-400A 1-5469-32 LTC-1200A
1-5468-43 LTB-400B 1-5469-41 LTC-450α
1-5468-51 LTB-125α 1-5469-42 LTC-1200α
1-5468-52 LTB-250α    
1-5468-53 LTB-400α    
カテゴリー : 

回答

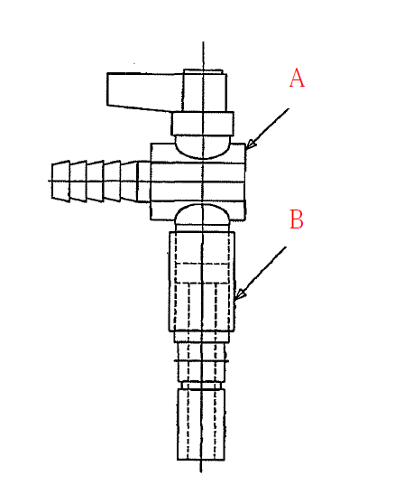
可能です。
 
付属のノズルを、オプション品「V-2流量調整バルブ(1-5468-11)」に交換し、 
コック部分だけを取り外すとRc1/4になります。 
 
上記のオプションバルブは3つの部品に分解可能で、
添付図のAを外すことができ、Bの上部がRc1/4になっています。 
 
なお、分解時、表面にキズなどつけないようご注意下さい。 
 
 
添付ファイル : 
1-5468-11 V-2流量調整バルブ図

この内容で解決できましたか?

よろしければご意見等お聞かせください! ※お問い合わせを入力されましてもご返信はいたしかねます